Модуль ввода/вывода сигналов FRONT Control FRONT Control IO AI8.DI16 Исп.1 R10
Артикул: 6147510
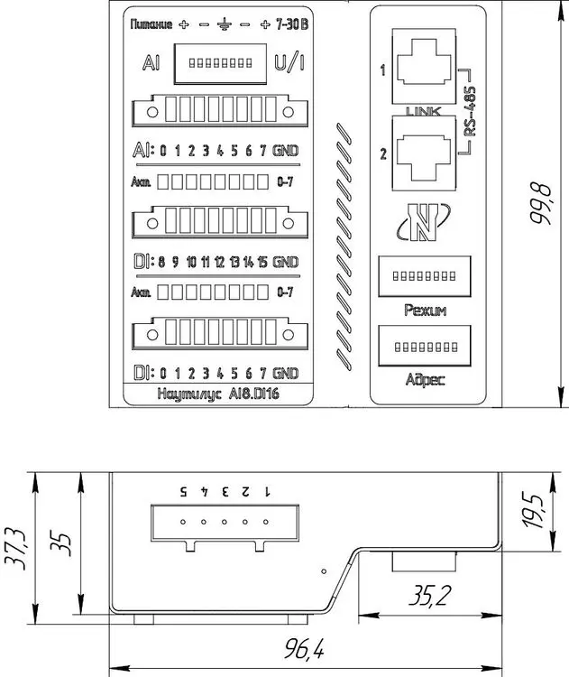
Российский промышленный модуль ввода/вывода - 8 аналоговых входов 0–10 В с возможностью подключения шунта для приема токового сигнала 0–20 мА (выбирается переключателями), 16 цифровых неизолированных входа с подтяжкой в логическую "1" для приема «сухого контакта».
Характеристики
Параметры последовательной связи
- Скорость передачи данных, бит/с
- 9600, 115200
- Интерфейс
- RS-485 (два дублированных разъёма RJ-45)
- Протоколы последовательной связи
- Modbus RTU, DCON
Аналоговый ввод
- Количество каналов АЦП
- 8
- Защита по току
- до 100 мА
- Индивидуальная настройка каналов
- Есть
- Тип каналов аналогового ввода
- Потенциальные
- Диапазон входных сигналов по напряжению
- 0 ~ 10 В
- Диапазон входных сигналов по току
- 0 ~ 20 мА
- Разрешение АЦП
- 12 бит
- Диапазон входных сигналов по току
- 0 ~ 20 мА
Дискретный ввод
- Рабочее расстояние для сухого контакта
- 500 м макс.
- Изоляция каналов
- Нет
- Входное сопротивление
- Не менее 2.2 Ком
- Защита от перенапряжения
- 30 В пост.
- Защита от перенапряжения
- до 30 В пост.
- Тип каналов дискретного ввода
- 16 каналов: Cухой контакт (Sink), подтянуты в логическую ''1''
- Напряжение лог. 0
- 0 ~ 0.7 В
- Напряжение лог. 1
- 2 ~ 24 В
Светодиодные индикаторы
- Индикаторы ввода/вывода
- 16 индикатора высокого/низкого состояния сигнала
- Системные индикаторы
- Питание, Передача данных, Статус модуля
Требования к электропитанию
- Максимальная потребляемая мощность
- 5 Вт
- Рабочее напряжение
- 9 ~ 30 В пост. тока
- Защита от неверной полярности
- Есть
Условия эксплуатации
- Рабочая влажность, %
- 0 ~ 80 %, без образования конденсата
- Рабочая температура, °C
- -25 ~ +60
- Температура хранения, °C
- -40 ~ +70
Конструктивные свойства
- Вес нетто, кг
- 0.3
- Габаритные размеры, мм
- 96 x 100 x 37.5
- Материал корпуса
- нержавеющая сталь
- Монтаж
- На DIN-рейку, настольный, настенный